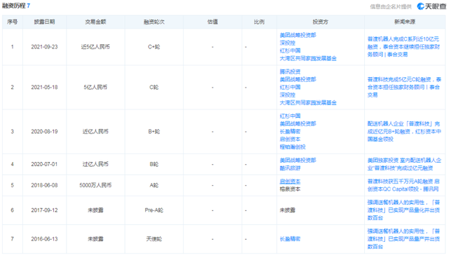
近日,融資總金額超十億元的商用服務機器人頭部企業深圳市普渡科技有限公司(簡稱“普渡科技”)被曝大裁員。該公司CEO張濤發全員信稱,為了公司活下去,決定對公司業務和團隊做一次瘦身。

據張濤在內部信中介紹,商用機器人行業自2016年左右萌芽,經歷了2016-2019年的PMF驗證,至2020年之后迎來了比較快速的發展,今年會出現近十家銷售額介于1億-10億元的第一梯隊公司,和銷售額介于2000萬-1億元的數十家第二梯隊的公司,整個行業的銷售額近年內保持了年均數倍的高增長。同時,在資本的加持下,商用機器人行業的公司的估值也水漲船高,出現了多家估值介于10億美金-20億美金的獨角獸公司。張濤稱:“我們也不能抱僥幸心理,寄望于資本市場回暖,因為這種下調是長期性的,因此所有的商用機器人公司都將永久性地面臨一個問題:如何盡早將盈利模式跑通、盡早實現盈利,實現可持續的經營。只有能夠靠自身盈利的商用機器人公司,才能穿越周期,在這個漫長的寒冬中活下去。” 他認為,從商業本質的角度講,商用機器人全行業幾乎都未實現盈利,在資本行情好的時候,商用機器人公司不賺錢的問題是被掩蓋了的。查詢天眼查信息顯示,普渡科技是一家智能配送機器人研發商,主攻機器人運動能力,核心技術包括機器人底盤、機器人定位導航算法、多機器人協作、機器人電機、機械臂、運動控制與運動規劃、機電一體化設計等,該公司的技術和產品覆蓋了室內、樓內、室外各種場景以及餐飲、酒店、快遞、外賣、物流倉儲等多個垂直行業的智能配送服務。至今,普渡科技已完成7輪融資,投資方包括美團戰略投資部、紅杉中國、騰訊投資等知名投資公司與機構。最近一輪融資發生于2021年9月的近5億人民幣C+輪融資。

據此前媒體公開報道,該公司完成大規模擴張后,員工人數從2020年7月的300人增長到2021年11月的3000人。今年初,即有網友發帖爆料稱,普渡科技正在大刀闊斧地裁員。
